专题:盈科律所老板爆雷?涉案金额超40亿,管理层:不便回应
炒股就看金麒麟分析师研报,权威,专业,及时,全面,助您挖掘潜力主题机会!
来源:蓝鲸新闻
蓝鲸新闻3月11日讯(记者 陆鹏鹏)“宇宙大所”被传暴雷?
近日,社交媒体有传言称,盈科律师事务所因为40亿融资担保暴雷,主任已经自首。该消息直指盈科律师事务所创始人梅向荣。
因40亿融资担保暴雷、创始人自首?
盈科律所回应:假的,目前正常营业
针对传言,蓝鲸记者致电盈科律师事务所官网法律咨询电话进行核实,接线工作人员回应称,目前律所正常营业。
随后,蓝鲸记者又拨打北京市盈科律师事务所总机电话,当问及相关传闻时,一位工作人员仅简短回应“假的”,随即便挂断电话。
一位上海盈科律师事务所的工作人员告诉记者,盈科在全国各地的律所都是独立的,目前对我们没有影响,其他消息不知情。
“宇宙大所”盈科背后:
员工超2万人,国内超120家分所,营收超百亿元
由于律师数量庞大,盈科律师事务所在业内被称为“宇宙大所”。
官网显示,盈科律师事务所是一家全球化法律服务机构,成立于2001年,总部位于中国北京,自2022年以来在Global 200全球律师人数排名中蝉联第一。
天眼查显示,北京市盈科律师事务所成立于2001年,注册资本1000万,负责人为梅向荣,是由资深律师组成的一家综合性律师事务所。
业务范围包括诉讼及非诉讼两个方面,业务领域涉及金融、证券、保险、房地产、公司事务、知识产权、税收、外商投资、跨国特许经营、国际贸易、海商海事、移民法律业务及刑事、民事、行政等法律事务。
在盈科的官网上可以看到梅向荣2026年的新年致辞,梅向荣在文中表示,目前盈科全球法律服务网络已经覆盖了104个国家和地区的199个国际城市,在中国大陆地区设有127家分所及1家粤港澳联营所,盈科海外机构已覆盖46个国家的57个国际城市,累计为全球342万余名客户提供高品质法律服务。
早在多年前,盈科律师事务所高管就曾公开表示,到2021年,人数力争突破10000名,大陆地区营业收入突破100亿元人民币,人均收入达到100万/年。时至今日,盈科员工数已超过2万人。
创始人梅向荣曾对外投资超30家公司
涉及汽车、地产等多个行业
公开资料显示,梅向荣是盈科律所全球合伙人、主任、中国人民大学律师学院兼职教授、清华大学法学院法硕联合导师。1972年出生于江苏省泰州市,1995年毕业于清华大学汽车工程系,获清华大学工学学士,北京大学光华管理学院EMBA。
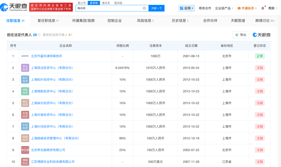
蓝鲸记者注意到,梅向荣除了律所业务外,还涉足汽车、地产等多个行业。他曾在29家公司担任法定代表人,35家公司担任股东。
包括上海荔远投资中心(有限合伙)、北京荣创嘉业投资管理有限公司、天津盈鼎房地产信息咨询有限公司等,其中大多为投资公司。
不过目前大部分公司已被注销,除了北京市盈科律师事务所外,仅剩下北京水木华清投资中心(有限合伙)、上海盈策投资管理中心(有限合伙)等5家公司。
蓝鲸记者还注意到,在一家名为北京向荣清能科技有限公司的投资记录中也出现了梅向荣的身影。
公开资料显示,北京向荣清能汽车科技有限公司是一家专注于氢燃料智能商用车研发与生产的公司。
2021年12月31日,公司举行揭牌仪式并与鑫桥联合融资租赁签署100亿元融资租赁协议,推动氢能商用车应用。同时,公司与清华大学车辆与运载学院、亿华通科技等机构建立产学研合作,促进科技成果转化。
而梅向荣正是北京向荣清能汽车科技有限公司的发起人。
天眼查显示,2022年,梅向荣以自然人股东的身份入资,2026年1月,梅向荣退出,变更记录显示,梅向荣出资额为200万元,出资比例为40%。变更后,梅亚萍成为该公司的百分百控股股东。值得一提的是,梅向荣和梅亚萍均为盈科高管。
网传信息显示,梅向荣拿着律师费去做融资担保,窟窿40亿元。不过目前尚未有信息证实,此事与北京向荣清能汽车科技有限公司有关,律所方面也对网传消息进行了否认。截至目前,盈科律师事务所官方尚未就网传信息做出公开回应。
新浪声明:此消息系转载自新浪合作媒体,新浪网登载此文出于传递更多信息之目的,并不意味着赞同其观点或证实其描述。文章内容仅供参考,不构成投资建议。投资者据此操作,风险自担。
海量资讯、精准解读,尽在新浪财经APP
责任编辑:杨红卜
长宏网配资提示:文章来自网络,不代表本站观点。